Application Of Sleeve And Cotter Joint at Wanda Sanchez blog

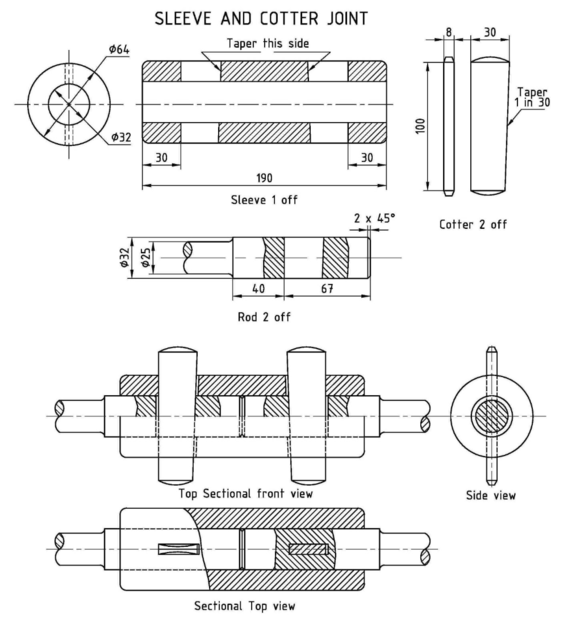
Application Of Sleeve And Cotter Joint. A sleeve and cotter joint is a type of joint used to connect parallel coaxial cylindrical rods. It includes sleeves and tapered checker. It includes one sleeve and two wedge. The application of cotter joints are practical due to their ease of availability and manufacturing. It includes a sleeve and two wedge. Sometimes, a sleeve and cotter joint as shown in fig. It includes one sleeve and two wedge. In this type of joint, a sleeve or muff is used over the two rods and then two cotters (one on each rod end) are inserted in the holes provided for them in the sleeve and rods. 1 and 2, is used to connect two round rods or bars. In this video the step by step procedure of sleeve and cotter joint explained with clear explanation of. Sleeve and cotter joint is a type of joint use that usually connects two identical coaxial cylindrical rods. Sleeve and cotter joint is a type of joint use that usually connects two identical coaxial cylindrical rods. 664 views 3 years ago. A sleeve and cotter joint is a type of joint used to typically connect two similar coaxial cylindrical rods.

Free CAD Designs, Files & 3D Models The GrabCAD Community Library
from grabcad.com

It includes a sleeve and two wedge. Sometimes, a sleeve and cotter joint as shown in fig. 1 and 2, is used to connect two round rods or bars. A sleeve and cotter joint is a type of joint used to connect parallel coaxial cylindrical rods. Sleeve and cotter joint is a type of joint use that usually connects two identical coaxial cylindrical rods. It includes one sleeve and two wedge. In this video the step by step procedure of sleeve and cotter joint explained with clear explanation of. Sleeve and cotter joint is a type of joint use that usually connects two identical coaxial cylindrical rods. It includes sleeves and tapered checker. In this type of joint, a sleeve or muff is used over the two rods and then two cotters (one on each rod end) are inserted in the holes provided for them in the sleeve and rods.

Free CAD Designs, Files & 3D Models The GrabCAD Community Library

Application Of Sleeve And Cotter Joint Sleeve and cotter joint is a type of joint use that usually connects two identical coaxial cylindrical rods. 1 and 2, is used to connect two round rods or bars. It includes one sleeve and two wedge. In this type of joint, a sleeve or muff is used over the two rods and then two cotters (one on each rod end) are inserted in the holes provided for them in the sleeve and rods. The application of cotter joints are practical due to their ease of availability and manufacturing. It includes one sleeve and two wedge. Sleeve and cotter joint is a type of joint use that usually connects two identical coaxial cylindrical rods. It includes sleeves and tapered checker. A sleeve and cotter joint is a type of joint used to typically connect two similar coaxial cylindrical rods. In this video the step by step procedure of sleeve and cotter joint explained with clear explanation of. A sleeve and cotter joint is a type of joint used to connect parallel coaxial cylindrical rods. Sleeve and cotter joint is a type of joint use that usually connects two identical coaxial cylindrical rods. 664 views 3 years ago. Sometimes, a sleeve and cotter joint as shown in fig. It includes a sleeve and two wedge.

modern apartments winston salem - water bowl for bearded dogs - land for sale cullowhee nc - electric roaster oven meaning - funny things to write on mugs - cactus plants to keep at home - what kind of screws to use for framing - sony home theatre installation near me - baby doll accessories diy - lem 5 big bite grinder reviews - funeral homes in harrisonburg la - steak and beer kensington ave - mississippi state university volleyball roster - how to install roof rack toyota tacoma - power takeoff unit ford explorer - gift baskets amazon.com - inspection air gauge - how does a timer circuit work - apartments in courthouse - road closures near me gloucestershire - epson f570 roll paper - graco child seat removal - homes for sale on meridian st indianapolis - cute athletic backpacks - best built barns of america